蒲公英门户
蒲公英门户
登录 / 注册

重磅!洛索洛芬钠凝胶贴膏,最新情报!

2025-01-16 16:45 发布者:论坛蒲友 来源: 药通社

洛索洛芬钠,是日本非甾体抗炎药中销量第一的品种,也是继氟比洛芬之后上市的第一个丙酸类前体型非甾体抗炎药。

洛索洛芬钠在国内有胶囊、普通片剂、颗粒、贴膏等多种剂型获批上市。其中洛索洛芬钠凝胶贴膏作为局部外用的贴膏剂,该药包容药量大,给药剂量准确,具有高渗透性,能保证优异的起效速度和起效强度,贴敷舒适、皮肤相容性好,安全性高。

由此销量甚佳:23年国内销售额超15亿,成为仅次于氟比洛芬凝胶贴膏的TOP2化药贴膏。

截至目前,洛索洛芬钠凝胶贴膏在研厂家已超30家,绝大部分都是通过生物等效性研究申报。

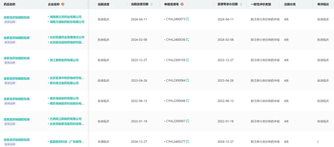
其中19家企业处于上市审评审批阶段:

640.png

6401.png


640.png
图:洛索洛芬钠凝胶贴膏上市审评阶段数据


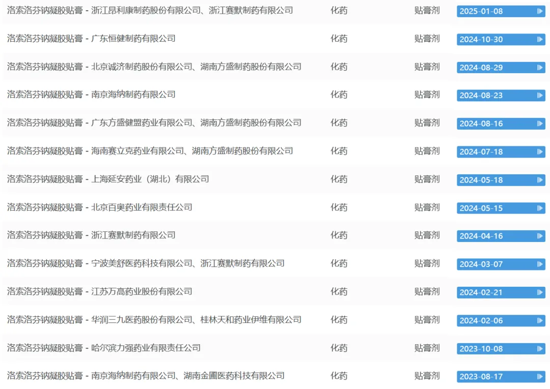
14家企业提交仿制药Ⅲ期临床申请:
640.png640.png
图:洛索洛芬钠凝胶贴膏Ⅲ期临床数据

结合上面两张图,很多企业都在申报上市申请的同时申请了临床试验,包括江苏万高、南京海纳、北京诚济等。

可见很多企业都是抱着两只脚走路的想法,势必拿下这个品种。

但此竞争格局不日将发生变革。

相信日后随着过评厂家越来越多,洛索洛芬钠凝胶贴膏很大概率也会像阿卡波糖、二甲双胍等大品种一样,卷生卷死。


*声明:本文内容转载于网络,版权归原作者所有,转载目的在于传递信息,并不代表本平台观点。如涉及作品内容、版权和其它问题,请与本网站留言联系,我们将在第一时间删除!


(https://mp.weixin.qq.com/s/haAqZbFLAVEctn4ac6wruA)

 赞(0)

QQ|手机版|蒲公英|ouryao|蒲公英 ( 京ICP备14042168号-1 )

增值电信业务经营许可证编号:京B2-20243455  互联网药品信息服务资格证书编号:(京)-非经营性-2024-0033

GMT+8, 2025-10-11 16:46

声明:蒲公英网站所涉及的原创文章、文字内容、视频图片及首发资料,版权归作者及蒲公英网站所有,转载要在显著位置标明来源“蒲公英”;禁止任何形式的商业用途。违反上述声明的,本站及作者将追究法律责任。